
Sotion fw01
Sotion FW01 Motor, 72V Amorge Battery, FD96680 From Econic Cycles, E&C Forks, Fast Ace Rear Shock, ROD R&D Hydraulic Front Disc Brake Kit

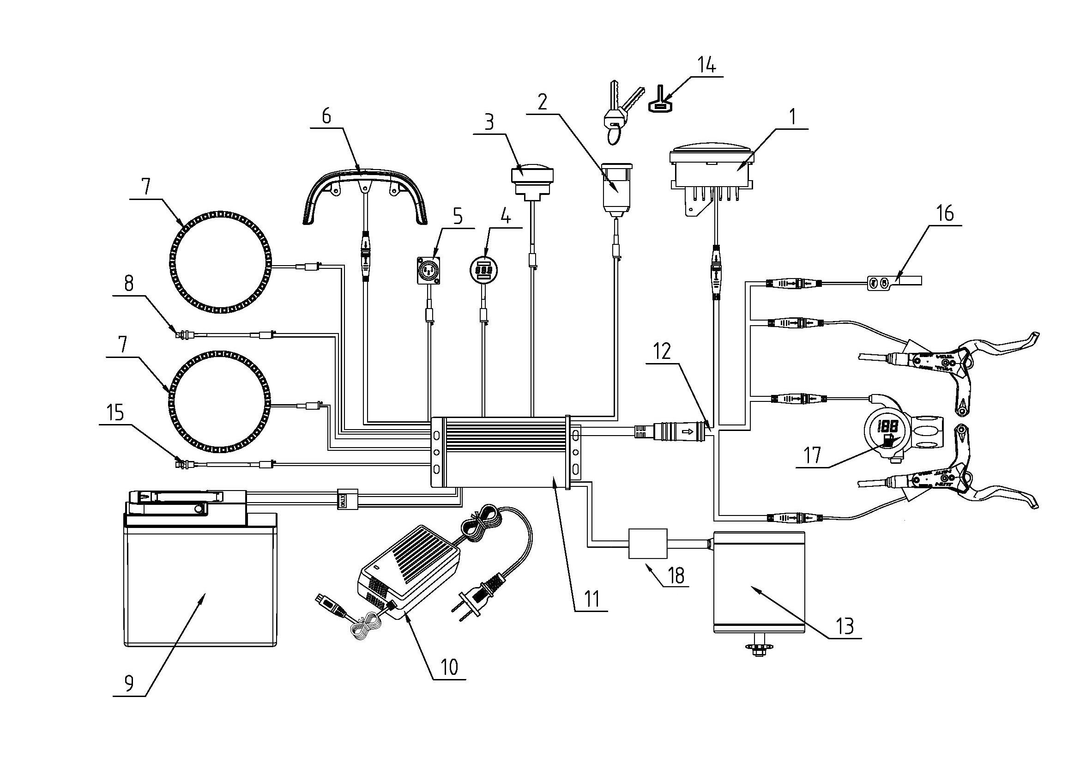
Kunray Kr5
Kunray KR5, Fardriver 72450 And Throttle Kit From Econic Cycles, Amorge 72V Battery, ROD R&D Forks and Shock, SuperMoto Wheels

E&C Pro Spec
Razor Pro Spec, Electro & Co. 76V Battery, Noisy Cricket Controller, The One Motor, SuperMoto Wheels, Custom Seat And Graphics, E&C Forks/ Rear Shock
Razor SX500
E&C EC4P Motor, Noisy Cricket Controller Kit And Rear Shock, Ride Or Die Forks, Swing Arm Extensions and Hydraulic Brakes, 72V 240 Cont. Amorge Battery, Custom Graphics


QS 165
Razor MX650, QS165 W/ Fardriver 96680 From Econic Cycles, PMT Slicks, 72V Amorge Battery, Custom 6" Stretched Swing Arm
Sotion FW11
Midwewest Mini Mods Swing Arm, Rear Shock And Forks, Sotion FW11 And FD72450 From Econic Cycles, Amorge 72V battery, SX500 Supermoto Wheels


Sotion HUB rsf 650
Sotion Powered RSF 650 Hub Motor, Sotion Controller, Sotion 72V 240 Cont. 40 AH Battery, Ride Or Die Forks
Check out the YouTube Channel below!
Tuttio Soliel 01
The people at Tuttio nailed this pit bike with some key features that other companies are lacking!
MX 650 W/KR5
In this episode I walk you through all the parts that make up this modified Razor MX650.
Sotion RSF 650
I cover the Sotion RSF bolt on kit for the Razor RSF 650. Build a rocket ship today!